 |
地址:連云港市海州區新壩鎮新北路
電 話:0518-85372405 85372403
0518-85372417
傳 真:0518-85372403
郵 編:222022
網 址:http://www.hqlyj.com
E-mail: lyghqfj@sina.com |
|
|
|
自抽式飛灰取樣裝置
———————自吸式飛灰取樣裝置
產品簡介
飛灰等速取樣裝置是公司的技術人員在長期的現場試驗中并參考國外先進取樣裝置制造技術而研制的,能均衡、等速采集飛灰試樣,彌補了以前撞擊式取樣裝置只能采集較大顆粒飛灰的缺陷,能夠真實的反映鍋爐運行的實際狀況。本裝置采用高硬質耐磨材料,防腐耐磨壽命長;
無需任何外在動力進行等速采樣。產品符合國家發改委最新頒布的電力行業標準 DL/T926-2005 《自抽式飛灰取樣方法》。
工作原理
飛灰等速取樣耐磨裝置是利用靜壓平衡原理進入定點等速抽吸含灰煙氣,取樣頭設有兩個感壓孔,分別采集煙道和采樣管煙氣靜壓值再通過拉法爾噴嘴對兩靜壓差調節至
0--±60Pa 之間進行等速采樣。

技術參數
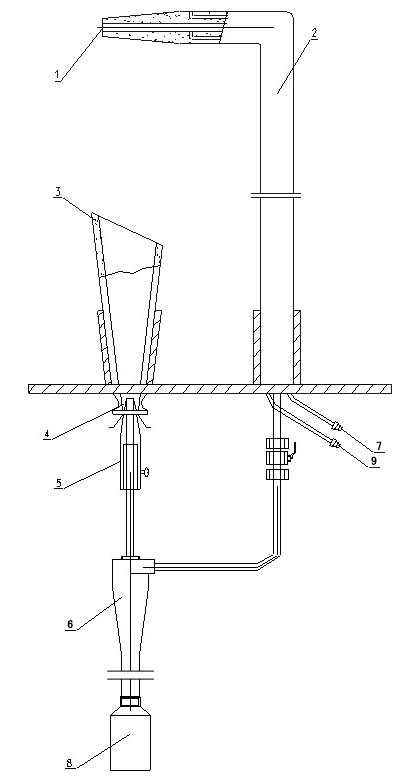
1. 取樣口 ----- 煙氣流由此進入取樣口
2. 耐磨取樣管 --- 煙氣流由取樣口,經過此管進入旋風子分離器
3. 耐磨煙氣排放孔 --- 煙氣經過拉法爾噴嘴由此進入煙道
4. 拉法爾噴嘴 --- 利用大氣壓力和煙道內產生的壓差,即壓力能轉化為動能,快速的將旋風分離器內的煙氣抽回到煙道內
5. 煙氣靜壓調節旋鈕 --- 在采樣之前,通過此旋鈕對煙道和取樣管之間的壓力等速調節
6. 旋風分離器 --- 煙氣流在此處進行分離,飛灰進入收集器,氣體從排放孔流出
7.取樣測壓點
8. 飛灰收集器 ---- 裝飛灰樣品用
9. 煙道測壓點
|
|